Prima pagină » IT&C » Armata americană a brevetat un glonț care se autodistruge, pentru a proteja civilii

Armata americană a brevetat un glonț care se autodistruge, pentru a proteja civilii

Armata americană a brevetat un glonț care se autodistruge, pentru a proteja civilii
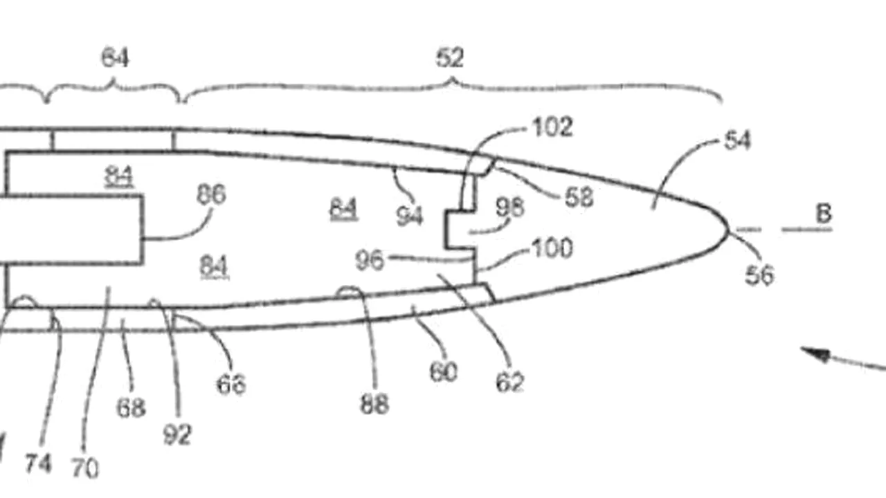
US Army a brevetat un model de glonț care se autodistruge, într-o încercare de a reduce numărul de victime în rândurile civililor. De multe ori, gloanțele care ratează ținta ajung să ucidă civili, iar armata SUA speră ca noul model să reducă semnificativ aceste cazuri în viitor.

Conceptul de glonț brevetat de US Army are rază scurtă de acțiune și este capabil să se autodistrugă. Dacă după o anumită distanță proiectilul nu lovește nimic, explodează. Această muniție este utilă în confruntările din orașe, acolo unde probabilitatea ca gloanțele rătăcite să lovească civili este mai mare și unde nu este necesar ca acestea să ajungă la distanțe mari.

Glonțul are calibru .50 și are potențialul de a produce răni grave. Proiectilul dispune de o încărcătură pirotehnică care se aprinde după ce pleacă de pe țeava armei. După ce parcurge o anumită distanță, se autodistruge.

Citește în continuare pe go4it.ro.

Recomandarea video

Mediafax
Războiul din Orientul Mijlociu degenerează: Iran și Israelul se bombardează tot mai puternic. Prețul petrolului crește cu 10%,
Digi24
„Și pietrele mă cunosc în Strâmtoarea Ormuz”. Ce îl îngrijorează pe fostul comandant de vas Traian Băsescu, după atacarea Iran
Cancan.ro
Surpriză la Survivor! Doi concurenți noi vor intra în tribul Faimoșilor. Cine sunt
Prosport.ro
Olivia, apariție în bikini: „A arătat aproape tot”
Adevarul
Imperiul secret de 95 de miliarde de dolari al ayatollahului Khamenei. Cum a confiscat mii de case și a făcut avere din suferința iranienilor
Mediafax
Avertismentul lui Bogdan Chirițoiu pentru benzinari: „Nu am vrea să vedem comercianți care profită de contextul internațional pentru a crește suplimentar prețurile în mod nejustificat”
Click
Clătite de post pufoase cu apă minerală. Rețetă rapidă, economică și delicioasă
Digi24
De la critic al războaielor din Orientul Mijlociu la atacuri militare: contrastul dintre campania electorală și președinția Trump
Cancan.ro
5 zile la rând de ninsoare în aceste orașe din România, începând de marti, 10 martie, potrivit meteorologilor Accuweather
Ce se întâmplă doctore
Cum arată acum Alexandra Dinu, prima soție a lui Adrian Mutu, la 45 de ani. Imagini rare cu blondina!
Ciao.ro
Inna, Delia sau Gina Pistol, poze pe care le-ar vrea șterse! Ipostaze stânjenitoare în public
Promotor.ro
Limuzina primită de Ceaușescu de la ultimul Șah al Iranului, vândută cu o sumă record. Cum arată și ce dotări are
Descopera.ro
Povestea exploratorului care a abandonat totul pentru Antarctica
Râzi cu lacrimi
BANCUL ZILEI. O tipă e în pat cu noul iubit: – E prima oară când fac asta, nu vreau să-ți faci o părere proastă despre mine...
Descopera.ro
Un nanomaterial pe bază de fier elimină celulele canceroase fără a afecta țesutul sănătos